Общероссийский классификатор стандартов → ЗДРАВООХРАНЕНИЕ → Стоматология → Стоматологическое оборудование *Пленки для стоматологической радиографии см. 37.040.25 *Зубные щетки и зубные нити см. 97.170
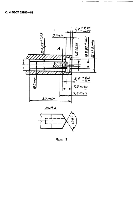
Настоящий стандарт распространяется на стоматологические наконечники, предназначенные для крепления инструментов с хвостовиком диаметром 2,35 мм и передачи им вращения от микропривода для проведения зубоврачебных работ в клинических условиях и изготовляемые для нужд народного хозяйства и экспорта в страны с умеренным и тропическим климатом.
Настоящий стандарт не распространяется на наконечники для уплотнения амальгамы, наконечники для зуботехнических работ и эндодонтические наконечники
| Название на англ.: | Dental handpieces for micromotors. General specifications |
| Тип документа: | стандарт |
| Статус документа: | действующий |
| Число страниц: | 22 |
| Дата актуализации текста: | 01.08.2013 |
| Дата актуализации описания: | 01.08.2013 |
| Дата издания: | 01.11.1988 |
| Дата введения в действие: | 30.06.1984 |
| Дата последнего изменения: | 22.05.2013 |
| Переиздание: | переиздание с изм. 1 |






















Ведущий эксперт по сертификации с 10-летним опытом. Помогу решить любые вопросы по оформлению документов.
Для города действует скидка на оформление документов до -40%.
Узнать подробности