Общероссийский классификатор стандартов → ИНФОРМАЦИОННЫЕ ТЕХНОЛОГИИ. МАШИНЫ КОНТОРСКИЕ → Взаимосвязь открытых систем
Настоящий стандарт определен в контексте функциональной стандартизации в соответствии с принципами, определенными в ГОСТ Р ИСО/МЭК ТО 10000-1. Контекст функциональной стандартизации - это одна из частей общей сферы деятельности в области информационных технологии, охватывающей базовые стандарты, профили и механизмы регистрации.
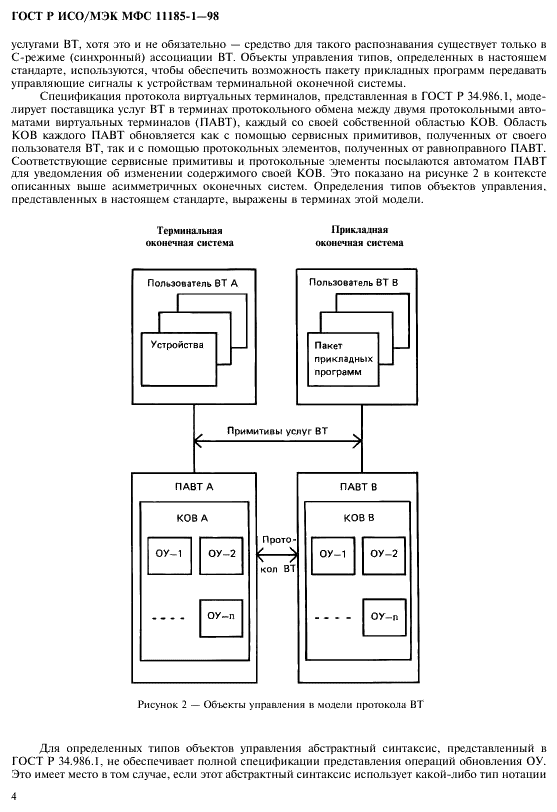
В стандарте взаимосвязи открытых систем (ВОС) ГОСТ Р ИСО 9040 по услугам виртуальных терминалов (ВТ) базового класса приведены требования к международному регистру определений типов объектов управления ВТ. Процедуры операций этого регистра представлены в ИСО/МЭК 9834-5. Настоящий стандарт содержит такой регистр. Отдельные элементы регистра образуют профили формата обмена и представления данных ( профили F), определенные в ГОСТ Р ИСО/МЭК ТО 10000-1.
Настоящий стандарт определяет два типа объектов управления, которые могут использоваться для передачи сигналов управления устройствами из прикладной оконечной системы в терминальную оконечную систему. Один из типов используется для передачи этих сигналов в упорядоченной последовательности с другими данными. Другой тип используется для срочной передачи этих сигналов, когда не требуется поддерживать их упорядоченную последовательность с другими данными
| Название на англ.: | Information technology. International standardized profiles FVT2nn. Virtual terminal basic class. Register of control object type definitions. Part 1. FVT211, FVT212 - sequenced and unsequenced application control objects |
| Тип документа: | стандарт |
| Статус документа: | действующий |
| Число страниц: | 19 |
| Дата актуализации текста: | 01.08.2013 |
| Дата актуализации описания: | 01.08.2013 |
| Дата издания: | 11.03.1999 |
| Дата введения в действие: | 01.07.1999 |
| Дата последнего изменения: | 22.05.2013 |



















Ведущий эксперт по сертификации с 10-летним опытом. Помогу решить любые вопросы по оформлению документов.
Для города действует скидка на оформление документов до -40%.
Узнать подробности