Общероссийский классификатор стандартов → ПОДЪЕМНО-ТРАНСПОРТНОЕ ОБОРУДОВАНИЕ → Грузовые тележки *Включая вилочные погрузчики,передвижные платформы и т.д. *Грузовики и прицепы см. 43.080.10
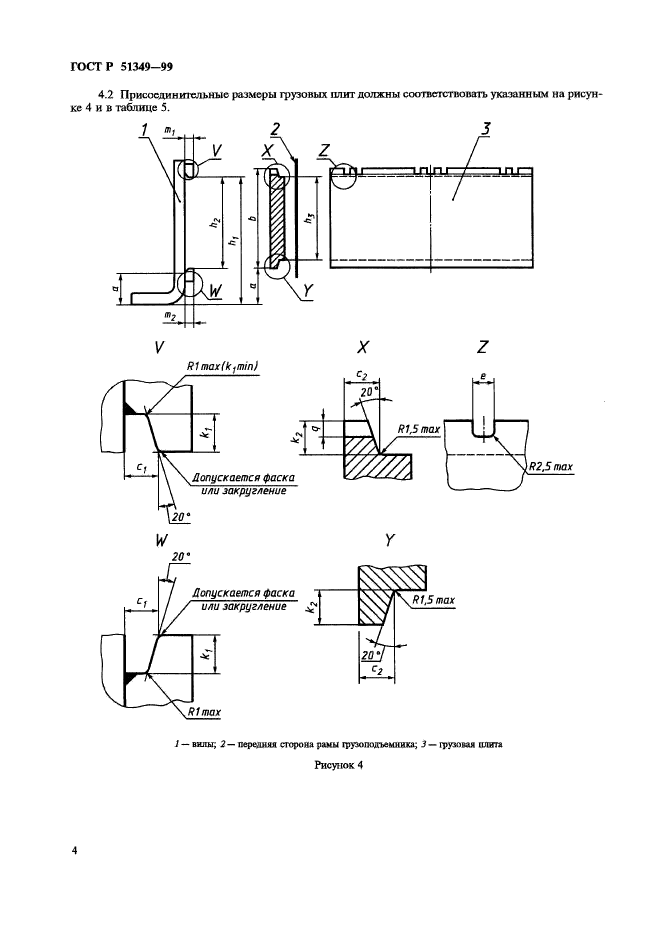
Настоящий стандарт распространяется на вновь выпускаемые погрузчики, штабелеры с электроприводои или с двигателем внутреннего сгорания и устанавливает размеры, характеристики грузовых плит и вил, методы испытаний и маркировку вил
| Название на англ.: | Floor mounted lift trucks. Load plates, fork. Specifications |
| Тип документа: | стандарт |
| Статус документа: | действующий |
| Число страниц: | 12 |
| Дата актуализации текста: | 01.08.2013 |
| Дата актуализации описания: | 01.08.2013 |
| Дата издания: | 17.01.2000 |
| Дата введения в действие: | 30.06.2000 |
| Дата последнего изменения: | 22.05.2013 |












Ведущий эксперт по сертификации с 10-летним опытом. Помогу решить любые вопросы по оформлению документов.
Для города действует скидка на оформление документов до -40%.
Узнать подробности