Общероссийский классификатор стандартов → ПОДЪЕМНО-ТРАНСПОРТНОЕ ОБОРУДОВАНИЕ → Землеройные машины *Включая экскаваторы, погрузчики, грейдеры и т.д.
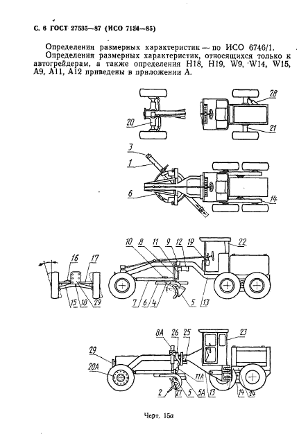
Настоящий стандарт распространяется на машины землеройные и устанавливает термины, определения и содержание технической характеристики для коммерческой документации по автогрейдерам и их рабочему оборудованию
| Название на англ.: | Earth-moving machinery. Graders. Terminology and commersial specifications |
| Тип документа: | стандарт |
| Статус документа: | действующий |
| Число страниц: | 25 |
| Дата актуализации текста: | 01.08.2013 |
| Дата актуализации описания: | 01.08.2013 |
| Дата издания: | 11.03.1988 |
| Дата введения в действие: | 01.01.1989 |
| Дата последнего изменения: | 22.05.2013 |

























Ведущий эксперт по сертификации с 10-летним опытом. Помогу решить любые вопросы по оформлению документов.
Для города действует скидка на оформление документов до -40%.
Узнать подробности