Общероссийский классификатор стандартов → ПОДЪЕМНО-ТРАНСПОРТНОЕ ОБОРУДОВАНИЕ → Землеройные машины *Включая экскаваторы, погрузчики, грейдеры и т.д.
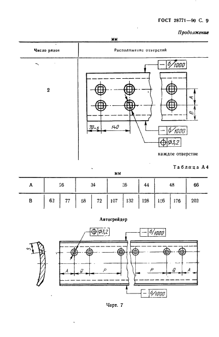
Стандарт устанавливает основные формы и размеры поперечного сечения ножей, а также расположение, формы и размеры отверстий под болты крепления ножей, используемых для тракторов с бульдозерным оборудованием, автогрейдеров и самоходных скреперов по ГОСТ 28764 с учетом их взаимозаменяемости
| Название на англ.: | Earth moving machinery. Tractors with dozer, graders, tractor scrapers. Cutting edges. Principal shapes and basic dimensions |
| Тип документа: | стандарт |
| Статус документа: | действующий |
| Число страниц: | 15 |
| Дата актуализации текста: | 01.08.2013 |
| Дата актуализации описания: | 01.08.2013 |
| Дата издания: | 15.02.1991 |
| Дата введения в действие: | 01.01.1992 |
| Дата последнего изменения: | 22.05.2013 |















Ведущий эксперт по сертификации с 10-летним опытом. Помогу решить любые вопросы по оформлению документов.
Для города действует скидка на оформление документов до -40%.
Узнать подробности