Общероссийский классификатор стандартов → ПОДЪЕМНО-ТРАНСПОРТНОЕ ОБОРУДОВАНИЕ → Землеройные машины *Включая экскаваторы, погрузчики, грейдеры и т.д.
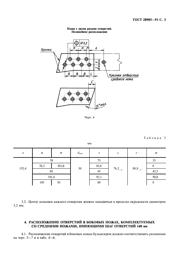
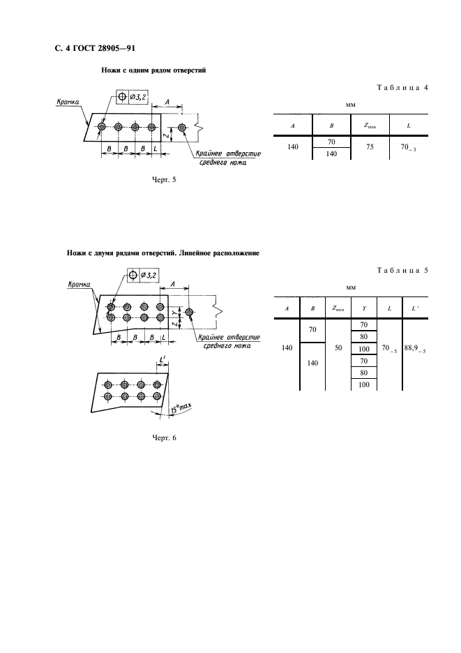
Настоящий стандарт распространяется на поворотные, неповоротные, сферические и полусферические бульдозерные отвалы и устанавливает основные требования к расположению, формам и размерам отверстий под болты крепления боковых ножей бульдозерных отвалов.
Стандарт распространяется на вновь разрабатываемые и модернизируемые бульдозеры
| Название на англ.: | Earth-moving machinery. Dozer end dits. Hole specification |
| Тип документа: | стандарт |
| Статус документа: | действующий |
| Число страниц: | 7 |
| Дата актуализации текста: | 01.08.2013 |
| Дата актуализации описания: | 01.08.2013 |
| Дата издания: | 01.11.2004 |
| Дата введения в действие: | 01.01.1992 |
| Дата последнего изменения: | 22.05.2013 |
| Переиздание: | переиздание |







Ведущий эксперт по сертификации с 10-летним опытом. Помогу решить любые вопросы по оформлению документов.
Для города действует скидка на оформление документов до -40%.
Узнать подробности