Общероссийский классификатор стандартов → ПОДЪЕМНО-ТРАНСПОРТНОЕ ОБОРУДОВАНИЕ → Оборудование для ручных работ *Включая лопаты, совковые лопаты, ваги, кирки и т.д.
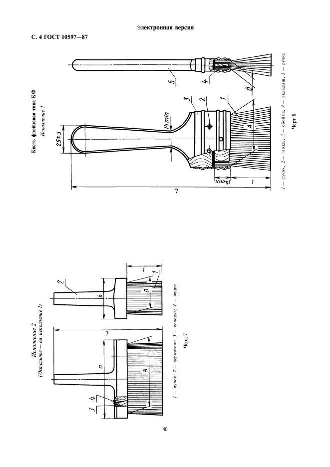
Настоящий стандарт распространяется на кисти и щетки, предназначаемые для малярных работ в строительстве
| Название на англ.: | Painting brishes. Specifications |
| Тип документа: | стандарт |
| Статус документа: | действующий |
| Число страниц: | 18 |
| Дата актуализации текста: | 01.08.2013 |
| Дата актуализации описания: | 01.08.2013 |
| Дата издания: | 01.06.1999 |
| Дата введения в действие: | 01.01.1988 |
| Дата последнего изменения: | 22.05.2013 |
| Переиздание: | переиздание с изм. 1 |
| Взамен: | ГОСТ 10597-80 |


















Ведущий эксперт по сертификации с 10-летним опытом. Помогу решить любые вопросы по оформлению документов.
Для города действует скидка на оформление документов до -40%.
Узнать подробности