Общероссийский классификатор стандартов → ПОДЪЕМНО-ТРАНСПОРТНОЕ ОБОРУДОВАНИЕ → Оборудование для ручных работ *Включая лопаты, совковые лопаты, ваги, кирки и т.д.
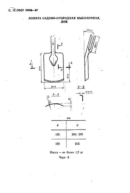
Настоящий стандарт распространяется на лопаты, предназначенные для производства строительных, садово-огородных и погрузочно-разгрузочных работ
| Название на англ.: | Shovels. Specifications |
| Тип документа: | стандарт |
| Статус документа: | действующий |
| Число страниц: | 33 |
| Дата актуализации текста: | 01.08.2013 |
| Дата актуализации описания: | 01.08.2013 |
| Дата издания: | 30.09.1987 |
| Дата введения в действие: | 01.01.1989 |
| Дата последнего изменения: | 22.05.2013 |
| Взамен: | ГОСТ 3620-76 ГОСТ 19596-74 |

































Ведущий эксперт по сертификации с 10-летним опытом. Помогу решить любые вопросы по оформлению документов.
Для города действует скидка на оформление документов до -40%.
Узнать подробности